1
/
de
1
1001manuais
Manua Voith - WSR-E60126-S
Manua Voith - WSR-E60126-S
Preço normal
R$ 19,00
Preço normal
Preço promocional
R$ 19,00
Preço unitário
/
por
Frete calculado no checkout.
Não foi possível carregar a disponibilidade de retirada.
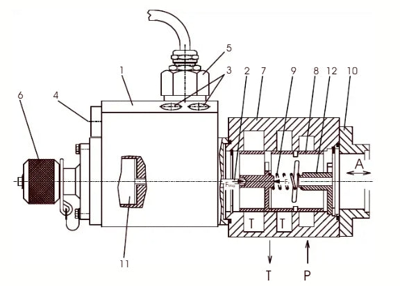
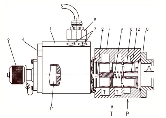
Operation and Maintenance Manual - Voith WSR-E60126-S This technical manual covers essential procedures for operation, preventive maintenance, and troubleshooting of the Voith WSR-E60126-S system. Intended for qualified technicians and operators, the document provides detailed specifications, operating sequences, lubrication tables, and safety protocols. It includes schematic diagrams, spare parts lists, and calibration recommendations. An indispensable reference for ensuring optimal performance, regulatory compliance, and extending the equipment's service life.
in ingles manual
Share
